赌对了就一夜暴富?农村老旧自建房遭哄抢,溢价率惊人!原因只有两个字…
溢价率389%、高出评估价77.5万元,溢价率434%、高出评估价369.39万元……
近期,佛山法拍市场多套老旧自建房现高溢价率成交,竞价记录均超过150次。
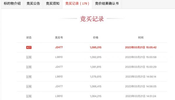
阿里法拍显示,3月21日,位于广东省佛山市南海区桂城街夏南一社区一套约109平方米的自建房,在竞价179轮后以约110万元成交,溢价率389%;佛山市南海区里水朝阳路一栋约900平方米的自建房,经过154轮竞价后以总价504万元成交,溢价率434%。
值得注意的是,两套自建房目前都附带租约,其中一套租约还有11年,故不清场交付。且该套房源对应土地的权利性质为批准拨用宅基地,土地用途为农村宅基地,其转移流转受到相应政策的限制。
知道什么原因吗?
重点来了,城街夏南一社区这套自建房,位于旧改范围之内!
溢价率434%
农村自建房也要靠抢?
佛山市南海区里水朝阳路的自建房位于热度较高的金沙洲板块,临近万达广场、红星美凯龙(601828)等商业,学校、医院等一应俱全。
《每日经济新闻》记者从阿里法拍了解到,该套房源起拍价为94万元,评估价为134.82万元,保证金18万元,共有40人报名,吸引了25910次围观。最终总价504万元成交,溢价率434%。不动产登记信息显示,该房源房屋建筑面积912.78平方米,以504万元计算,折合约5522元/平方米。


图片来源:阿里法拍
国有土地出让的权利类型也是该套房源的一大热点因素,独用土地面积有180.97平方米,土地权利性质为出让,土地/房屋用途为城镇住宅用地(住宅),使用期限还有48年。
该房源带租约拍卖,不清场交付。房源共有6层,其中四层(2-5层)带租约拍卖,租赁期共20年,自2006年6月10日起至2026年6月9日止,该房屋20年租金已一次性付清。1层和6层均存在公共使用区域,公共使用区域的交付问题需与承租人协商处理。

处于旧改范围!
南海区桂城街夏南一社区自建房的围观次数也有14280次,虽然只有8人报名,但竞买记录达到了179次。起拍价为22.38万元,评估价31.97万元,最终溢价率389%至109.5万元成交。

房屋建筑面积109.79平方米,折合均价约9974元/平方米,远高于南海区里水朝阳路的自建房成交均价。该房产也是带租约拍卖,但租赁期限2019年12月1日至2034年11月30日,还剩约11年,租期内产生的租金,已由被执行人收取。在上述租赁期限届满前,除出现法定或租约约定的情形外,买受人不得提起物权保护诉讼请求腾退。


图片来源:阿里法拍
值得注意的是,该房源对应土地的权利性质为批准拨用宅基地,土地用途为农村宅基地,其转移流转受到相应政策的限制。
3月24日,广东华商律师事务所律师周争锋在接受《每日经济新闻》记者采访时表示,一般农村宅基地转让要求必须是同村的,就是同一集体组织的人,才有竞买资格,不然没有竞买主体资格。
阿里法拍竞买公告也显示,上述房源因是集体土地性质的房地产,买受人须具备宅基地不动产受让资格条件。佛山市南海区已经实行不动产统一登记,如上述建筑物已经改建、加建或扩建等,建筑物现状与房产证证载不一致的,在无法提供合法规划报建验收材料的情况下,无法办理过户登记,由此产生的风险由买受人承担。

“只要法院出了裁定一般就可以过户,因为拍卖的房产可能就根本没有过户流程,拍卖成交的裁定也可以是产权人的依据。”周争锋补充道。
这套宅基地的房源受热捧,正是因为其所在区域已经明确为旧改范围。记者了解到,房源所在的夏南一整村改造已在2020年表决通过,改造主体为海逸集团。
近1100亩的夏南一社区整村改造项目,可以说是佛山桂城最大体量的整村改造项目。今年1月,夏南一社区的公路南工业区已经率先开拆。
记者|黄婉银
|每日经济新闻 nbdnews 原创文章|
未经许可禁止转载、摘编、复制及镜像等使用
(责任编辑:王治强 HF013)相关知识
梧州人:拆迁从此再无一夜暴富?
30年房贷不可怕,钱贬值的速度才吓人!这些案例就是现实写照!赌对了,你就是人生赢家,赌错了,还是你的家……
这些因拆迁暴富的年轻人为何频遭“围猎”
这些因拆迁暴富的年轻人为何频遭“围猎”
楼市见顶,一夜暴富的机会不多了
农村自建房可以买吗 农村自建房怎么买卖
自建房有房产证吗 农村自建房怎么办房产证
农村自建房层高多少合适 农村自建房层高过高会有什么影响
农村自建房房产证可以写几个人的名 农村自建房如何办理房产证
农村自建房怎么办房产证 农村自建房办房产证收费标准
推荐资讯
- 1穷人装修3万硬装怎么样,硬装 106858
- 2女生戴14号戒指算粗吗 正常 97135
- 3婆婆对儿媳说的暖心话 婆婆喜 96510
- 400后法定结婚年龄 结婚登记 65450
- 5燃气灶怎么选?跟随方太高效直 54895
- 6男生戴戒指的含义图解 女生戒 43509
- 7杨燕军 | 医院建筑的顶层设 40811
- 8泰安国悦山180平下跃美式风 34562
- 9积木家装修公司正规吗?选装修 27968
- 10农村现代简约自建房图片 27866