乘氢而上:质子交换膜技术助燃燃料电池汽车商业化
加速燃料电池商业化发展,扩大氢能产业经济效应。
新年伊始,据中汽协公布的数据显示,2022年我国氢燃料电池汽车产销数据达到3992辆和3789辆,较去年同比增长121.11%和138.90%!(另据保险数据,2022年燃料电池汽车上牌量突破5000辆。)喜人涨幅的背后,在示范奖励政策的牵引下,氢燃料电池汽车正以续航里程长、加注速度快等优势撬动国内新能源汽车产业尤其是商业车领域万亿级的蓝海市场。
商用车作为一种生产工具,商业运输公司把运输效率和全生命周期运营成本放在首位,但双碳目标和排放法规要求商用车走向零排放,实现绿色运输是大势所趋,燃料电池汽车技术的快速发展正在逐个击破不少当下“绿色运输”难题,如纯电动商用车续航里程短、充电时间长,环境温度适应性差等,得到来自商用车市场的广泛关注。燃料电池汽车产业的蓬勃前景也催生了对包括质子交换膜、高压氢瓶等关键技术的更高要求。
机遇与挑战并存,以期实现燃料电池汽车商业化前景,还需不断提高关键技术的商业可行性及竞争优势。因此,我们就“质子交换膜技术助力燃料电池汽车商业化”为题采访了燃料电池质子交换膜领导者戈尔公司(W. L. Gore & Associates)全球产品专家Simon Cleghorn,得到了全新的思考角度和洞察。

焦点1 :研发阶段 质子交换膜如何帮助电池电堆发挥出色性能
记者提问: 面对高温或潜在干燥的情况,工程师倾向于在氢燃料电池电堆中使用更薄的质子交换膜(PEM),但PEM厚度减少容易导致PEM机械性能差,甚至影响整体燃料电池的使用寿命。针对这种情况,您有什么建议或经验可以分享吗?
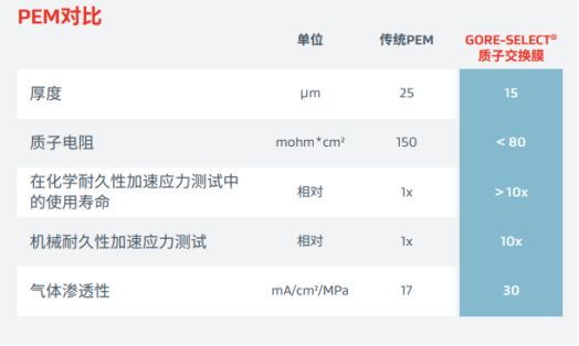
Simon : 燃料电池电堆和系统研发工作中涉及各种因素之间的相互作用,因此十分考验工程师全方位考量问题的能力。电池电堆里的PEM必须具备高电导率、稳定的化学性能及机械性能,以及低气体渗透性。但普通的纤薄PEM往往会增加气体渗透性从而降低燃料效率,同时PEM更薄也更容易发生有害自由基浓度升高的风险,从而加速化学性能衰减,缩短产品寿命。这些都是普通的纤薄PEM容易影响燃料电池使用寿命的根本原因。
[戈尔的解题之道]
戈尔采用膨体聚四氟乙烯(ePTFE)对质子交换膜(PEM)进行增强,一举解决了这些难题。戈尔利用ePTFE、性能出众的高聚物以及有助于对抗化学性能衰减的专有添加剂相结合,开发出增强型复合PEM技术,最终实现了低电阻、高耐用性且符合特定应用要求的产品设计。

焦点2:生产&商业化阶段 质子交换膜与其他部件相互作用的奥秘
记者提问: 在生产及组装阶段,同样的部件在不同的汽车制造商生产过程中常出现不同的适应性需求,如PEM和其他部件之间的相互作用。供应商是否有不同方式可以帮助汽车制造商更顺畅的实现稳定生产及开发呢?
Simon: 确实,从研发转向生产阶段,非常考验供应商对于部件的理解程度。供应商不仅需要深入了解各部件的潜在性能权衡因素,更需要精通其部件与燃料电池电堆和系统中其它部件之间可能会产生的相互作用。供应商必须具备坚实的“后备力量”,从表面科学、热学、力学和物理表征、化学分析以及微观结构表征方面等,才能为制造商提供最为全面可靠的帮助。
[戈尔的解题之道]
以质子交换膜为例,领先的PEM供应商应能(在燃料电池中)进行原位电化学分析,以确定可能因材料变化而导致的长期性能欠佳和/或功率损耗的原因。同时,PEM供应商应能随时使用非原位总结分析工具来诊断现场返回的MEA/PEM的故障模式或机制。为此,戈尔开发了两种建模方案,原位(在燃料电池中)和非原位测试方法,以便了解这些相互作用并加快产品设计。
焦点3:量产阶段 关于质子交换膜(PEM)氢燃料电池生产供应安全
记者提问:当汽车制造商转向燃料电池量产阶段时,如何在提高电堆生产良率的同时降低成本?
Simon: 从质子交换膜(PEM)供应商的角度出发,品质稳定的原材料和精密的质子交换膜涂覆技术将有助于PEM供应商尽可能减少电池之间的差异,从而确保产品的生产良率和使用寿命。
[戈尔的解题之道]
能够生产高性能PEM且产能可满足行业需求的供应商更是寥寥无几。戈尔将此优势视为取得成功的关键,并充分利用我们在膨体聚四氟乙烯(ePTFE)增强领域的技术专长和全球网络资源,确保规模化生产中的供应安全性、工艺稳定性和质量一致性。

现如今,燃料电池技术正在燃料电池乘用车领域得到有效的开发、部署和测试。多样的燃料电池汽车类型促使质子交换膜(PEM)燃料电池电堆和系统在燃料电池市场中的份额高达64%。
展望未来,燃料电池商业化之路任重道远,需要继续研发更专业的质子交换膜(PEM)技术来显著提高燃料电池电堆和系统的性能及可靠性,携手各类汽车制造商一道从容迎接氢能未来。
相关知识
乘氢而上:质子交换膜技术助燃燃料电池汽车商业化
进博会首发5kW纯氢燃料电池 松下发力碳中和
厉害了大同!全国首台最大功率氢燃料电池发动机即将投产
“三箭齐发”, 多家房企发布再融资预案,最牛地产股九连板,公司紧急回应关注函!燃料电池逐步市场化,氢能工业车辆产线加速落地
武汉经开区13个重大项目集中开工 总投资233.5亿元
蒙娜丽莎氢能叉车项目落地,开创建陶产业氢能叉车示范先河
武汉经开区转型升级打造“中国车谷”
明年成都新增更新公交车 全部为新能源汽车
上海将对新能源汽车领域优秀人才给予直接落户奖励
山西首支氢能产业基金在综改示范区设立
推荐资讯
- 1穷人装修3万硬装怎么样,硬装 106881
- 2女生戴14号戒指算粗吗 正常 97272
- 3婆婆对儿媳说的暖心话 婆婆喜 96552
- 400后法定结婚年龄 结婚登记 65456
- 5燃气灶怎么选?跟随方太高效直 54899
- 6男生戴戒指的含义图解 女生戒 43535
- 7杨燕军 | 医院建筑的顶层设 40852
- 8泰安国悦山180平下跃美式风 34696
- 9积木家装修公司正规吗?选装修 28010
- 10农村现代简约自建房图片 27907