厦门象屿20亿元小公募公司债券在上交所注册生效
来源: 时间:2020-09-14 18:18
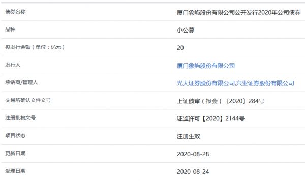
中国网地产讯 8月28日,据上交所消息,厦门象屿股份有限公司公开发行2020年公司债券在上交所注册生效。

募集说明书显示,本次债券发行规模不超过20亿元(含),采取分期发行方式,首期发行规模不超过20亿元。债券期限为不超过7年(含),可以为单一期限品种,也可以是多种期限的混合品种。
债券牵头主承销商、簿记管理人、债券受托管理人为光大证券,联席主承销商为兴业证券。
据悉,本次债券募集资金拟用于补充流动资金、偿还公司债务等法律法规允许的用途。
其中,拟不超过20亿元用于偿还公司本部及子公司债务,剩余部分用于补充公司本部及子公司流动资金等。明细如下:

相关知识
厦门象屿20亿元小公募公司债券在上交所注册生效
信达地产78.34亿元小公募公司债券在上交所注册生效
方圆地产9.18亿元小公募公司债券在上交所注册生效
厦门住宅集团48.9亿元小公募公司债券在上交所提交注册
中交四航局40亿元小公募公司债券在上交所注册生效
金隅集团80亿元小公募公司债券在上交所注册生效
厦门特房集团56.13亿元小公募公司债券在上交所提交注册
厦门象屿20亿元可续期公司债券已获上交所受理
信达地产78.34亿元小公募公司债券在上交所提交注册
凯华地产40亿元小公募公司债券在上交所提交注册
推荐资讯
- 1穷人装修3万硬装怎么样,硬装 107619
- 2女生戴14号戒指算粗吗 正常 100010
- 3婆婆对儿媳说的暖心话 婆婆喜 97949
- 400后法定结婚年龄 结婚登记 65521
- 5燃气灶怎么选?跟随方太高效直 54974
- 6男生戴戒指的含义图解 女生戒 44313
- 7杨燕军 | 医院建筑的顶层设 42245
- 8泰安国悦山180平下跃美式风 37397
- 9积木家装修公司正规吗?选装修 29375
- 10农村现代简约自建房图片 29280
资讯热点排名